Disney: Interactive Cakes With Augmented Reality
Have you ever imagined a cake with an interactive image of snow-capped mountains, flowing waterfalls, and misty graveyards on it? That fantasy may be coming true with Disney’s recent patent of augmented reality cakes.
Disney has had a long history with augmented reality, beginning with many attractions in its theme parks. Now it is trying to implement the AR technology in a huge new market - food. Using a projector and some motion sensors, the new invention would display interactive movies and images on any edible stuff and turn it into a fantasy world.

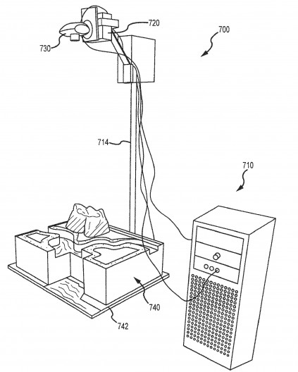
According to the patent, though conceptual for now, a small projector would be built into a cake topper to store and display digital images onto the cake's surface. Sensors would track the movement to interact with the projection. The cake could be designed as a digital photo frame that the users can flip through using certain gestures.
For a more elaborate experience, a computer is required in addition to an overhead projector outfitted with depth sensors and motion trackers. This may make it possible to add interactive elements on cakes that don't have a flat surface. In this way, the projector can display more complex images, such as entire landscapes, which would make for a more epic looking cake.

By using certain action to trigger specific events, anyone would be able to manipulate the virtual world on the cakes. Place a tree onto a field to watch a forest sprout up, wave a wand to make flowers appear, make a sprinkle motion to sparkles, or cut a piece of cake to see water flowing into the empty space.
Photo slide shows, home edited videos and even visual storybooks are all possibilities with an augmented reality cake. The only question is how far your imagination can go.
Augmented reality, which allows computer-generated content to be superimposed over a live camera view of the real world, is not a new concept. By adding graphics, sounds, haptic feedback and smell to the natural world, the new technology blurs the line between what's real and what's virtual.
The technology has been applied to some electronic devices like iPhone, but never food. It seems that in near future, augmented reality food could show up in parties or other events that call for fanciful desserts. It’s not hard to imagine a child’s birthday cake becoming a digital color book with dozens of classic characters and stories from Disney. That would be an amazing experience for both kids and family members.
With bright future for this innovation, Disney, however, didn’t mention when it will reveal any of these AR cakes or in what scale.
Reach Staff Reporter Evie Liu here.


